PC单机游戏资源下载网站
当前位置 > 首页 > 文章列表 > 正文

任天堂秘密申请了新专利或者Switch Pro手柄。

2022-03-18 00:56     来源 : 九狸游戏     编辑 : 九狸     浏览量 : 267

任天堂绝对是游戏界比较神秘的公司之一,所以即使是一个小小的发现也会引发众多粉丝的讨论。

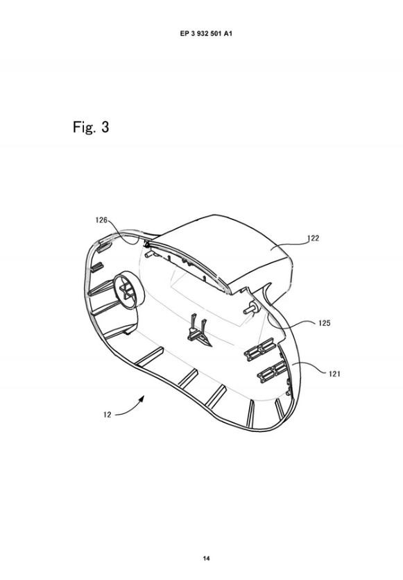
一位Twitter用户发现了任天堂在去年7月获得的一项手柄专利,该专利于1月初公布。

任天堂曾偷偷申请新专利 或为Switch  Pro手柄

该专利可以在Espacenet专利查询网站上查看,但页面上除了手柄的外观和内部设计,并没有更多信息。目前看起来有点像半N64手柄的布局。

任天堂曾偷偷申请新专利 或为Switch  Pro手柄

任天堂曾偷偷申请新专利 或为Switch  Pro手柄

任天堂曾偷偷申请新专利 或为Switch  Pro手柄

任天堂曾偷偷申请新专利 或为Switch  Pro手柄

虽然这位Twitter用户仍然没有放弃任天堂可能推出Switch Pro版本的希望,但任天堂已经明确表示暂时没有推出Swtich增强版的计划。此前,为了配合Switch Online会员游戏合集,任天堂推出了Switch版本N64和世嘉MD手柄。这个手柄专利可能是类似的产品。

任天堂曾偷偷申请新专利 或为Switch  Pro手柄

热点资讯
  • 人气女B新游戏《终远的威尔修-ErroR:salvation-》主要人物介绍
  • 《使命召唤:战争地带2.0》常见问题的解决方案
  • 史泰龙主演美剧《塔尔萨之王》确认续订第二季。
  • 《公主与秽欲的献祭》已正式在STEAM平台上市!
  • 八方旅人2阵组合推荐,岐路旅人2最强职业组合攻略
  • 18岁的西班牙青年因有元宇宙犯罪而被捕的罪名随处可见
  • 交配3D动作RPG新作《怪兽宇宙》1月在线
  • 不买RTX3080的三大理由:性能过剩,矿卡太多,没钱买。
  • 《同级生Remake》评测:寻找重新拼凑的经典
  • RTX4090浮点运算性能首次突破100万亿次。
  • 漫画《式守同学不只可爱而已》终于完结星期六最后一章
  • 《建筑模拟器》新作于2022年9月20日公开发售。
  • 《明末:渊虚之羽》外媒评论:战斗令人惊叹,但叙述却沉闷
  • 游戏启动出错
  • Topic《按摩狂》重命名为《beat refle》第一个登录Steam
  • 运行环境问题
  • 轻小说《为了在异世界也能摸毛茸茸而努力》动画发表
  • 哔哩哔哩电视大会员更名为超级大会员。每月35元支持多平台。
  • 伊藤润二新短篇集《幻怪地带》第二季将于12月7日上映。
  • 《热血街区电影版:极恶王续篇》公告将于9月9日在日本发布。
  • 游戏联机问题
  • 工程师玩家打造迷你乐高版电脑,精致小巧,可玩性强。
  • 《大多数》因游戏官方疑似被封,官方讨论组被关闭。
  • 解压出现错误
  • 《进化Stage2》服务器几年后突然无缘无故重新上线。
  • 18禁游戏《魅魔》发布夏季更新和比基尼DLC
  • 《机战30》评测:夹缝里找乳摇,我们老了还是机战老了?
  • 几款EA游戏不能在SteamDeck上运行,修复很快就来了。
  • 吃鸡游戏《超级人类》宣布最终公测将于8月17日开启。
  • 《Cosplay模拟器》Steam版可以解锁各种绅士场景。
  • 《守望先锋:归来》新英雄“扎克镇女王”技能介绍
  • 地域网络问题
  • 美剧《伞学院》官方宣布第四季将是该剧的最后一季。
  • 网飞《僵尸百分百》真人电影将于2023年上映。
  • 传闻:《猎天使魔女3》10月28日上映。
  • 《生化危机4:重制版》美国总统女儿Ashely的脸模曝光。
  • Copyright2021-2026九狸游戏 粤ICP备2021101394号