PC单机游戏资源下载网站
当前位置 > 首页 > 文章列表 > 正文

100%合格白象方便面售罄:暖心诉求

2022-03-19 01:20     来源 : 九狸游戏     编辑 : 九狸     浏览量 : 218

“土坑酸菜”曝光后,一些品牌的方便面让人避之唯恐不及,但低调尽职的白象方便面却销售一空。样本无一不合格,公司三分之一员工残疾,甚至感动了无数网友。他们被誉为“国货之光”,喊出了“吃面就是白象方便面”的口号。

因为短时间内销量大增,白象网店贴出通知称,全国各地白象工厂已启动应急预案,全力生产,争取最快发货。

100合格的白象方便面卖断货:暖心呼吁

白象也呼吁大家,吃多少买多少,不要浪费。3354红星鸿星尔克:我对这个事情比较熟悉。

在公告中,白象还承诺,山河清澈,世界无愧,五星照耀,都是中国。品质用如山,美味无穷。

在白象的店铺和产品页面中,“25年品质,白象始终如一”的广告语格外醒目。

100合格的白象方便面卖断货:暖心呼吁

白象食品有限公司成立于1997年11月,法定代表人和董事长为姚忠良,注册资本3.5亿元人民币,拥有30家外商投资企业,其中25家已经存在或正在经营,大部分位于河南和北京。

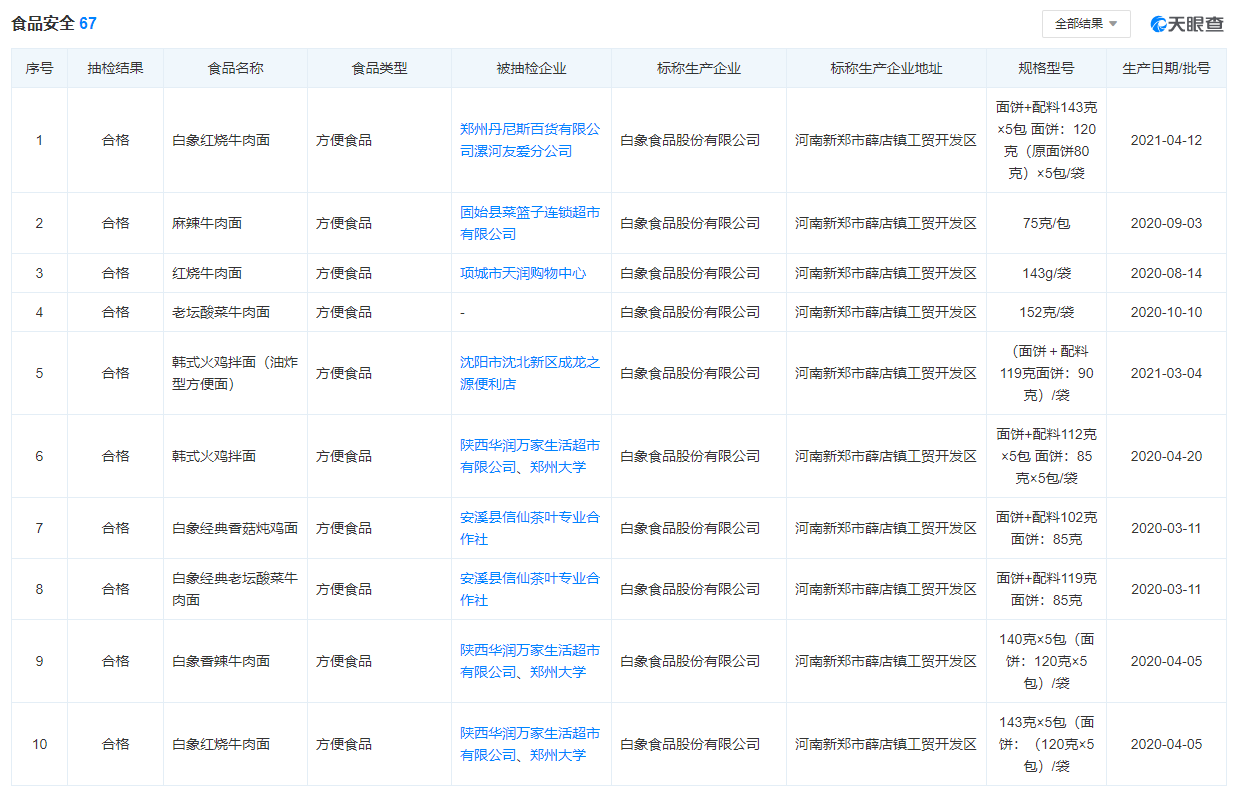
食品安全信息显示,白象公司产品抽检67次,结果全部合格。对其投资公司和分支机构的近300次抽查结果全部合格。

热点资讯
  • 人气女B新游戏《终远的威尔修-ErroR:salvation-》主要人物介绍
  • 《使命召唤:战争地带2.0》常见问题的解决方案
  • 史泰龙主演美剧《塔尔萨之王》确认续订第二季。
  • 《公主与秽欲的献祭》已正式在STEAM平台上市!
  • 八方旅人2阵组合推荐,岐路旅人2最强职业组合攻略
  • 18岁的西班牙青年因有元宇宙犯罪而被捕的罪名随处可见
  • 交配3D动作RPG新作《怪兽宇宙》1月在线
  • 不买RTX3080的三大理由:性能过剩,矿卡太多,没钱买。
  • 《同级生Remake》评测:寻找重新拼凑的经典
  • RTX4090浮点运算性能首次突破100万亿次。
  • 漫画《式守同学不只可爱而已》终于完结星期六最后一章
  • 《建筑模拟器》新作于2022年9月20日公开发售。
  • 《明末:渊虚之羽》外媒评论:战斗令人惊叹,但叙述却沉闷
  • 游戏启动出错
  • Topic《按摩狂》重命名为《beat refle》第一个登录Steam
  • 运行环境问题
  • 轻小说《为了在异世界也能摸毛茸茸而努力》动画发表
  • 哔哩哔哩电视大会员更名为超级大会员。每月35元支持多平台。
  • 伊藤润二新短篇集《幻怪地带》第二季将于12月7日上映。
  • 《热血街区电影版:极恶王续篇》公告将于9月9日在日本发布。
  • 游戏联机问题
  • 工程师玩家打造迷你乐高版电脑,精致小巧,可玩性强。
  • 解压出现错误
  • 《大多数》因游戏官方疑似被封,官方讨论组被关闭。
  • 《进化Stage2》服务器几年后突然无缘无故重新上线。
  • 18禁游戏《魅魔》发布夏季更新和比基尼DLC
  • 《机战30》评测:夹缝里找乳摇,我们老了还是机战老了?
  • 几款EA游戏不能在SteamDeck上运行,修复很快就来了。
  • 吃鸡游戏《超级人类》宣布最终公测将于8月17日开启。
  • 《Cosplay模拟器》Steam版可以解锁各种绅士场景。
  • 《守望先锋:归来》新英雄“扎克镇女王”技能介绍
  • 地域网络问题
  • 美剧《伞学院》官方宣布第四季将是该剧的最后一季。
  • 网飞《僵尸百分百》真人电影将于2023年上映。
  • 传闻:《猎天使魔女3》10月28日上映。
  • 《生化危机4:重制版》美国总统女儿Ashely的脸模曝光。
  • Copyright2021-2026九狸游戏 粤ICP备2021101394号