PC单机游戏资源下载网站
当前位置 > 首页 > 文章列表 > 新闻
  • 索尼重大人事变动:吉田健下月将出任索尼中国总裁。

    索尼重大人事变动:吉田健下月将出任索尼中国总裁。
    据索尼官方消息,现任首席财务官吉田武司将从 2022 年 4 月 1 日起就任索尼中国总裁,接替执掌索尼中国 6 年之久的现任董事长兼总裁高桥洋。 ...
    03-28
  • 网《攻壳机动队SAC_2045》第二季新预测将于5月23日发布。

    网《攻壳机动队SAC_2045》第二季新预测将于5月23日发布。
    Netflix官方3月27日今天宣布,《攻壳机动队SAC_2045》二季定档5月23日独占上线发布,同时最新预告公开,收录了millennium parade演绎的ED主题曲《No Time to Cast Anchor》,一起来先睹为快。 ...
    03-28
  • 任天堂要求推特用户删除25年前出版的一本策略书。

    任天堂要求推特用户删除25年前出版的一本策略书。
    这么多年来,玩家早已熟悉任天堂法务部的威力。最近任天堂法务部再度发威,要求一名推特用户将一本扫描攻略书删除,而这本攻略是任天堂25年前发行的! ...
    03-28
  • 英伟达RTX 3090 Ti新卡的价格定在15000元。

    英伟达RTX  3090 Ti新卡的价格定在15000元。
    NVIDIA将于周二将推出新卡皇RTX 3090 Ti,这也可以看作是RTX 30系列的终局之战。 ...
    03-28
  • 索尼注册了一项新专利,可以追踪玩家在游戏中的特定互动行为。

    索尼注册了一项新专利,可以追踪玩家在游戏中的特定互动行为。
    玩家与游戏世界互动的方式是考量电子游戏进步的重要指标之一。刚开始的时候,玩家只能前后移动、跳跃和射击。如今的电子游戏里玩家会遭遇数百个不同角色,并与他们展开互动。网络游戏里玩家还能互相进行交流,存在无限可能,沉浸感也进一步加强。 ...
    03-28
  • 《Runescape》厂商将注册新商标或推出MMO新作。

    《Runescape》厂商将注册新商标或推出MMO新作。
    网络游戏《Runescape》上市已经有20多年时间,这些年来有很多衍生作品和内容围绕这款游戏推出。如今,开发商Jagex注册新商标,他们的下一次冒险可能就要开始了。 ...
    03-28
  • Tik Tok升级谣言专项治理,加大谣言初始账号处理力度。

    Tik  Tok升级谣言专项治理,加大谣言初始账号处理力度。
    日前国家网信办对近期越来越猖獗的网络造谣传谣事件加以打击,3月27今天,抖音发布《关于升级谣言专项治理的公告》称,近期在疫情、东航坠机等社会热点事件中,造谣、传谣数次出现,抖音平台升级对谣言的专项打击治理。 ...
    03-28
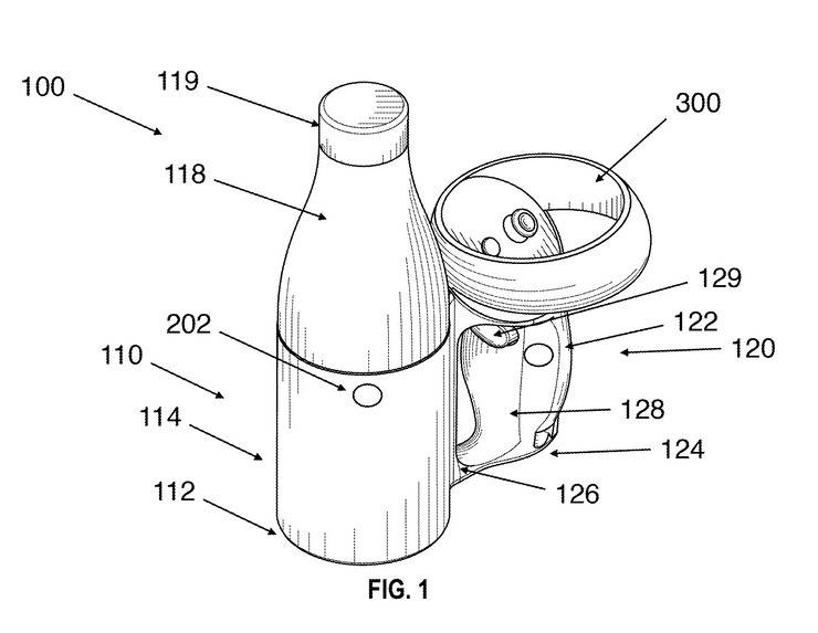
  • VR交互控制器专利曝光:游戏里可以喝一杯。

    VR交互控制器专利曝光:游戏里可以喝一杯。
    虽然并没有很多人想的那样获得大范围普及成为“趋势”,但VR硬件的价格近几年倒是实打实降下来了,足以让真正感兴趣的玩家去尝试一下VR游戏的沉浸感。与此同时,VR相关领域公司也并没有放弃,一直在致力于给VR硬件设计提供更加多样化的体验。 ...
    03-28
  • 暴雪回应《守望先锋2》标记系统不会让阴影太强。

    暴雪回应《守望先锋2》标记系统不会让阴影太强。
    备受期待的游戏新作《守望先锋2》即将到来,暴雪方面正在积极地进行测试和更新。最近在对全新的标记系统进行解读之后,玩家开始担心这项功能反而会对游戏体验带来不利影响。厂商日前就此发表回应。 ...
    03-28
  • 《蜘蛛侠:英雄无归》北美票房破8亿美元。

    《蜘蛛侠:英雄无归》北美票房破8亿美元。
    据外媒消息,《蜘蛛侠:英雄无归》在上映的第十五个周末北美票房突破8亿美元大关,目前是北美影史票房第三高的电影。其他两部北美票房超过8亿美元的电影分别为《星球大战:原力觉醒》(9.36亿美元)以及《复仇者联盟4:终局之战》(8.58亿美元)。 ...
    03-28
  • 费《机动奥特曼》第二季新角色宣传片外星公主玛雅出道

    费《机动奥特曼》第二季新角色宣传片外星公主玛雅出道
    网飞3DCG动画《机动奥特曼》第二季将于4月14日独占上线,3月27日今天官方公布了最新角色宣传片,由佐仓绫音饰演的瓦德兰星公主玛雅登场亮相,一起来先睹为快。 ...
    03-28
  • 越来越热了!集团CTO表示,PCIe 5.0 SSD必须开机。

    越来越热了!集团CTO表示,PCIe  5.0 SSD必须开机。
    PCIe 5.0硬件平台有了,那么SSD什么时候才能到来呢?除性能提升之外还会有什么变化呢? ...
    03-28
  • 《死亡回归》厂商复盘:开发过程艰难,被迫调整。

    《死亡回归》厂商复盘:开发过程艰难,被迫调整。
    在Housemarque正式推出PS5新作《死亡回归》之后,意味着一系列努力工作、检测和试错来到了顶点。最近开发商介绍了他们为保证《死亡回归》品质背后所做的一系列努力。 ...
    03-28
  • 5虚幻科幻恐怖游戏《量子误差》新剧情预告

    5虚幻科幻恐怖游戏《量子误差》新剧情预告
    由TeamKill Media开发的科幻恐怖射击游戏《量子误差》今日公开了剧情先导预告,本作使用虚幻引擎5开发,本期预告是游戏在PS5上运行的实机画面。 ...
    03-28
  • 网飞《遗迹守护者》动画新预告将于6月18日独家上线。

    网飞《遗迹守护者》动画新预告将于6月18日独家上线。
    Netflix于3月27日今天宣布,日本著名漫画家皆川亮二的出道名作、1989年开启连载的30年奇幻漫画名作《遗迹守护者》动画将于6月18日独占上线,官方同时公布了最新预告,一起来了解下。 ...
    03-28
  • 苹果为避免员工跳槽,发放“特别留任奖”:最高20万美元。

    苹果为避免员工跳槽,发放“特别留任奖”:最高20万美元。
    近日,据知情人士透露,苹果将向少数工程师派发新一轮特别股票奖金,以此挽留关键人才。知情人士称,苹果最近几天以限售股形式向部分员工派发了10万至20万美元的奖金,苹果内部的部分员工将这笔奖金称作“特别挽留奖”。 ...
    03-28
  • 发布第8天!《新蝙蝠侠》国内票房破亿。

    发布第8天!《新蝙蝠侠》国内票房破亿。
    近日,据DC Films官方微博以及灯塔票房专业版公布的实时数据,截至3月26日10时3分,上映第8天,影片《新蝙蝠侠》票房突破1亿。 ...
    03-28
  • 芯片公司员工中只有16名本科网友吐槽:开发芯片靠大学生吗?

    芯片公司员工中只有16名本科网友吐槽:开发芯片靠大学生吗?
    据每日经济新闻报道,3月7日,芯微电子创业板IPO申请获得深交所受理。多网友好奇:一家拟上市的高新技术企业,招了一堆大专生在做芯片研发? ...
    03-28
  • 特别赞!《杀戮尖塔:崩坠》国防部网上蒸汽商店

    特别赞!《杀戮尖塔:崩坠》国防部网上蒸汽商店
    《杀戮尖塔》是当前Steam平台上评价最高的卡牌类roguelike游戏之一。与此同时,针对这款游戏开发作品的MOD作者群体也非常活跃。 ...
    03-28
  • Evrtx3090ti曝光:超厚大瓷砖耗电量或超过450W。

    Evrtx3090ti曝光:超厚大瓷砖耗电量或超过450W。
    NVIDIA即将发布新卡皇RTX 3090 Ti,而作为一款顶级旗舰,不但公版极尽奢华,非公版更是各显其能。现在我们就看到了北美品牌EVGA打造的全新RTX 3090 Ti,而是彻底进行了重新设计。 ...
    03-28
  • Copyright2021-2026九狸游戏 粤ICP备2021101394号